炒股就看,权威,专业,及时,全面,助您挖掘潜力主题机会!
来源:野马财经

娃哈哈品牌价值900亿。
娃哈哈宗庆后家族的遗产战,已经从股权博弈打到了“品牌战”。
9月13日,据“蓝鲸新闻”报道,由宗馥莉实际控制的宗胜系企业将于2026年新的销售年度起,更换使用全新品牌 “娃小宗”。
据一份“关于开展2026销售年度经销商沟通工作的通知”文件显示,自娃哈哈集团创始人离世后,公司一直努力推进解决各项历史遗留问题,为维护“娃哈哈”品牌使用的合规性,公司决定从2026年新的销售年度起,更换使用新品牌“娃小宗”。

此前,宗庆后之女宗馥莉同父异母的弟弟妹妹——宗继昌(Jacky Zong)、宗婕莉(Jessie Zong)、宗继盛(Jerry Zong),在中国香港、杭州分别发起诉讼,追讨其父宗庆后生前承诺的21亿美元(约合150亿元人民币)信托权益。
就在两起诉讼尚未尘埃落定之际,宗馥莉以“更换品牌”之举再度打破僵局,引发外界广泛关注。
回望娃哈哈的发展历程,自1987年宗庆后创立以来,凭借AD钙奶、营养快线等一系列深入人心的产品,企业逐步成长为国民级品牌,承载了几代人的共同记忆。而如今,这家老牌企业却因家族内部纷争屡次成为舆论焦点。

“宏胜系”已注册43个新商标
存商标侵权风险
这份内部文件揭示了此次品牌变动的核心原因:因复杂的历史相关问题不能在近期得到有效地解决,导致公司经营始终暴露在相关法律风险之下。因此,我们不得不做出以上的安排,在现行股权架构下,“娃哈哈” 商标的使用,须获得娃哈哈集团全体股东的一致同意,否则任何一方均无权使用。

从股权结构来看,娃哈哈集团的股权由三方构成:第一大股东为国资,杭州上城区文商旅投资控股集团有限公司持股46%,宗馥莉持股29.4%,杭州娃哈哈集团有限公司基层工会联合委员会(职工持股会)持股24.6%。
“娃哈哈”商标的所有权归属娃哈哈集团,这次变更品牌的文件落款与娃哈哈集团无关,而是由宗馥莉实际控制的7家企业——包括杭州娃哈哈宏辉食品饮料有限公司、浙江娃哈哈食品饮料营销有限公司等。即宗馥莉实际控制的宏胜系。
但宏胜系与娃哈哈集团并无直接股权关联,穿透股权结构显示,宏胜饮料集团原本是由注册在英属维京群岛的恒枫贸易(BVI)持股98%和浙江恒枫投资持股2%,此后变更为恒枫贸易(BVI)100%持股,以上公司均由宗馥莉实际控制。宗馥莉此前在宏胜饮料担任董事长一职,但去年7月,宗馥莉职位变更为执行董事。因此,“宏胜系”无权单独使用“娃哈哈”商标。
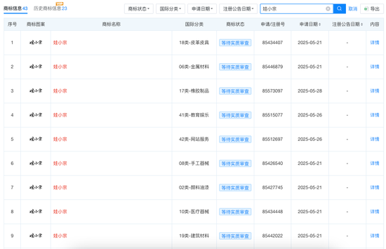
天眼查显示,2025年5月21日-28日,宏胜饮料集团注册了大量“娃小宗”商标,涉及行业十分广阔,包括医药、布料床单、餐饮住宿、金融物管、化学原料、绳网袋篷、建筑管理、网站服务等。以上共有43项商标,目前正处于“等待实质审查”阶段。

图源:天眼查
实际上,在“娃小宗”之前,宏胜饮料在今年2月还注册了一些“宗小哈”、“娃小哈”等商标名。
“从法律角度看,‘娃小宗’品牌名称确实存在潜在风险。娃哈哈集团其他股东可能以商标近似、容易造成消费者混淆为由提出异议,尤其如果能够证明存在攀附商誉的故意,可能面临商标侵权诉讼。”科方得智库研究负责人张新原表示。
不过,娃小宗品牌是否会实际运营尚是个未知数,“通过另立门户确实可以向集团其他股东展示自身价值和不可替代性,但具体效果取决于多方博弈。这种策略既存在施压效果,也可能导致彻底分离,需要谨慎评估后续发展。”张新原分析道。

娃哈哈品牌价值900亿,
曾试图转让娃哈哈商标未果
实际上,新建一个品牌是宗馥莉的无奈之举。
此前,据国家知识产权局商标局官网显示,娃哈哈集团正对“娃哈哈”系列商标进行转让,拟受让方为娃哈哈食品公司,申请日期为2025年1月21日。
天眼查显示,娃哈哈食品公司分别由杭州娃哈哈宏振投资有限公司持股51%,娃哈哈集团持股39%,浙江娃哈哈实业股份有限公司持股10%。
其中,娃哈哈宏振由宗馥莉100%持股,宗馥莉又在娃哈哈持股29.4%。以此计算,宗馥莉在娃哈哈食品合计持股比例达到62.47%,达到实际控制。也就是说,如商标转让完成,宗馥莉拥有使用权。

图源:天眼查
系列商标转让随即掀起争议,根据品牌评估机构GYBrand的2024中国最具价值品牌500强名单,娃哈哈品牌价值高达911.87亿元。
2月12日,娃哈哈集团发布声明回应称,娃哈哈”系列商标初始登记在集团公司名下。食品公司成立时,集团公司以“娃哈哈”系列商标作为出资注入食品公司,“娃哈哈”系列商标也作为实物出资项下无形资产列入,同时部分商标以资产转让方式由食品公司向集团公司购买,据此,集团公司取得食品公司39%的股权,但是“因集团公司与外资公司之间历史纠纷的缘故,未完成商标转让的登记备案。

图源:娃哈哈官网
截至目前,系列商标转让未能完成,天眼查显示,娃哈哈系列商标目前仍在杭州娃哈哈集团旗下,娃哈哈食品公司并非持有任何一个“娃哈哈”商标。
在此情况之下,2025年9月,宗馥莉控制的“宏胜系”向经销商下发“更换品牌”的文件。但新建一个品牌是否有那么容易?
“在饮料行业建立品牌认知度通常需要大量资金投入和长期市场培育。宗馥莉可能需要投入数十亿级别的资金,并经过3-5年的持续市场推广,才可能在消费者心智中建立一定认知度。最大风险在于市场接受度不确定,以及高额投入可能无法获得预期回报。”科方得智库研究负责人张新原分析道。
张新原进一步分析,“失去娃哈哈品牌背书将面临三大挑战:一是下沉市场渠道需要重新建立信任关系;二是新品推广需要从零开始建立消费者认知;三是终端动销缺乏品牌溢价支撑。经销商体系可能会流失相当一部分依赖娃哈哈品牌效应的传统渠道商,预计初期流失率可能达到30%-50%。”
不过,张新原也指出,“宗馥莉可以用自己的个人IP转化为品牌资产,但需要巧妙运用。预计她会采用故事化营销,强调传承与创新,通过社交媒体和内容营销直接触达年轻消费者,同时可能借助其国际教育背景打造差异化品牌形象。”

宗馥莉接班后的“利益重组”
动了谁的蛋糕?
因得不到全部股东的同意,而走出“更换品牌”这步棋的宗馥莉,自2024年2月25日,79岁的宗庆后因病去世后,与股东、家人、职工之间的关系就越发错综复杂。
宗庆后去世后的权力交接过程并不顺利,当年7月,一封署名宗馥莉的辞职信在网上流传,称因部分股东对其经营管理“提出质疑”,决定辞去副董事长、总经理职务。但一个月后剧情反转,宗馥莉正式接任娃哈哈法定代表人、董事长及总经理,并接手父亲持有的29.4%股权。
当时,宗庆后胞弟宗泽后在在朋友圈中写道,“她(宗馥莉)最大的问题是:接班娃哈哈不应该考虑如何做大规模,如何赚钱,如何大刀阔斧改变现状。她首先要考虑是如何做好事做慈善?让所有人都认可你,在这个过程中你可以发现很多问题,也可以发现很多人才,自然而然让大多数人认可你的接班。她却反其道而行之,火力四开,锋芒毕露,应了古语:刚易折。”

不过,“回归”后的宗馥莉并没有听取叔叔的规劝,而是大刀阔斧的开启了“去娃哈哈化”的战略重组。她要求大量娃哈哈员工将劳动合同转签至宏胜旗下公司。拒绝转签的员工面临年终奖和干股分红的大幅削减,有的被减半,有的甚至降至原来的两三折。
2025年7月的最新动作显示,是宗馥莉名下多家娃哈哈公司更名为“宏胜”相关名称,包括贵阳娃哈哈昌盛饮料有限公司、成都娃哈哈昌盛饮料有限公司等。与此同时,宏胜旗下新设立了多家销售公司,逐步摆脱对娃哈哈集团销售渠道的依赖。

在此期间,因为娃哈哈纯净水“背刺”代工厂今麦郎一事,娃哈哈还被媒体挖出超市中卖的娃哈哈纯净水,不少均为宗馥莉从2003年起就实际控制的“宏胜系”代工。
截至目前,今年以来娃哈哈已经关停18家工厂,其中宗继昌、宗婕莉担任董事的沈阳娃哈哈荣泰食品有限公司,以及宗继昌担任董事的南京娃哈哈饮料有限公司、天津娃哈哈食品有限公司、大理娃哈哈饮料有限公司、双城娃哈哈乳品有限公司均赫然在列。众多娃哈哈工厂的一线员工也成为了改革的“埋单者”。
比如成立已经17年的衢州娃哈哈启力饮料公司,也于今年3月11日注销,工商资料显示注销原因是“股东会决议解散”。据《21世纪经济报道》援引衢州娃哈哈的说法,“衢州工厂有3条生产线,其中2条为纯净水生产线,另1条为饮料生产线,该厂员工在100多人左右,工厂效益其实不错。”

如今工厂关停后,员工大致处于转岗、失业、维权三种状态。而衢州娃哈哈启力饮料公司有两大股东:广元金信投资有限公司持股75%,其余的25%则由盛佳集团持股。其中,广元金信分别由宗馥莉持股60%,杜建英持股40%。
与此同时,娃哈哈集团官宣正在天津、怀化、郑州、南京、成都、贵阳等地布局18条高速水线。而这18条高速水线所属11家项目公司,不少都是“宏胜系”公司:如成都宏胜恒枫、广州恒枫饮料、贵阳宏胜恒枫。
此消彼长背后,娃哈哈“接班人”宗馥莉的布局已经显山露水:一场向“宏胜系”战略转移的戏码正在上演。
从法律意义上来说,宏胜饮料集团与娃哈哈毫无股权关系。
而娃哈哈集团目前的股权结构是:杭州上城区国资委为第一大股东持股46%,宗馥莉从宗庆后处继承了29.4%的股份为第二大股东,此外,职工持股会持股24.6%。
而遗产纠纷爆发的时间,与宗馥莉关停杜建英及其子女担任董监高的这些娃哈哈工厂时间基本一致。
而且,因为对强制转岗不满意,宗馥莉还引起了关停工厂老员工的不满。
据新媒体“红星资本局”援引陕西娃哈哈乳品有限公司15年老员工投诉称,自2月16日停产至今,员工的收入开始缩减。正常生产时,每月到手有5000-6000元,如今只有1000多元。公司安排他们调配至内蒙、武汉和西宁等地的娃哈哈其他分公司工作,或者去做厂区后勤工作,如食堂、门卫和绿化等。对于无法外出工作的,公司目前没有生产任务,可以按照当地最低工资标准的75%给予1573.5元/月的税前工资,累计可以申请2个月。至于停产原因,《工作安排方案》明确写了是因为股东争议问题,生产线暂时停产。目前,这些员工组织了维权群,也在向相关方面反映诉求。


隐形的继承人
现身分割遗产
在公众认知中,娃哈哈创始人宗庆后家族关系简单:妻子施幼珍和独生女宗馥莉。但这场诉讼突然揭开了这个中国饮料巨头家族不为人知的一面。
但随着遗产争夺战的诉讼开庭,律师正式确认了宗继昌、宗婕莉、宗继盛与宗馥莉的“同父异母兄弟姐妹关系”。此次是首次在法律层面开撕,将这段相对隐秘的关系公之于众。
据“上游新闻”报道,三名原告首次公开主张其为宗庆后非婚生子女(母亲为娃哈哈前高管杜建英),要求平等继承权。
目前,原告方已经提交了大儿子宗继昌的出生证明,申请调取宗庆后2023年在浙一医院的血液样本做DNA比对——若鉴定成立,《民法典》第1071条规定的“非婚生子女同等继承权”将成原告方“杀手锏”。
但也有网友爆料宗馥莉的弟妹三人并非“私生子”,宗庆后与杜建英是合法夫妻(留言评论中提及在海外领证)。但是,这期间宗庆后与原配施幼珍在国内的婚姻关系并未解除。

图源:小红书
杜建英1966年出生于杭州,比宗庆后小21岁。她毕业于浙江大学光学仪器工程系,历任娃哈哈集团党委书记、进出口业务负责人、总经理办公室主任等职,深度参与企业关键发展,是核心管理团队成员。她还在2010年于上海创立三捷投资集团,涉足生物医疗、新能源、新材料等产业投资。目前,杜建英依然在多家娃哈哈关联公司担任董事。
一位曾在娃哈哈工作过的老员工表示,杜建英是娃哈哈招聘的第一批大学生,在娃哈哈的发展过程中立下了汗马功劳,无论是娃哈哈的对外扩张、IT架构建设、搭建现代企业管理的制度流程和体系、“家文化”建设,甚至此前的“达娃之争”,都是在杜建英的指导下完成的,她是公司毫无争议的“二号人物”,是个非常有人情味的人,在娃哈哈员工中的威信也是极高。
至于杜建英与宗庆后的孩子们,早在2022年,宗继昌、宗婕莉的名字就曾在娃哈哈关联公司中出现。天眼查显示,2022年12月,沈阳娃哈哈荣泰食品有限公司新增了宗婕莉、宗继昌两位董事。2024年6月-7月,宗继昌又上任了娃哈哈体系内4家公司的董事,分别为南京娃哈哈饮料有限公司、天津娃哈哈食品有限公司、大理娃哈哈饮料有限公司、双城娃哈哈乳品有限公司。而宗继盛目前未在娃哈哈关联公司担任职位。
据《财经》杂志报道,三位“兄弟姐妹“作为原告方,声称宗庆后曾指示下属通过香港汇丰银行为每人设立7亿美元信托,截至2024年初,汇丰账户余额约18亿美元(约合人民币129亿元);截至2024年5月,已有110万美元(约合人民币788万元)被转出该账户。原告方寻求法庭禁令,冻结该汇丰账户,要求宗馥莉执行父亲遗嘱,支付数百万美元资产利息,并赔偿资金转移造成的损失。
宗馥莉方面辩称,涉案信托账户资金是公司海外拓展储备金,110万美元的转账是用于支付越南工厂设备尾款,并提供了合同及发票佐证。
但原告方律师指出:“宗庆后晚年曾在私人场合承认三名子女的“宗氏血脉”,并口头承诺“不会亏待”,遗嘱见证人清一色为娃哈哈高管。”但是,因为无家族成员见证或签字,该程序存在瑕疵。
据宗馥莉的律师还表述,宗馥莉不接受这些证据,声称宗庆后并没有向她发出指示。
对于上述遗产纠纷,7月13日,记者联系娃哈哈相关工作人员求证,娃哈哈方面表示:“家族内部事务,与公司的运营及业务并无关联。公司不会提供任何答复口径或相关回应。”
尽管当前内部纠纷不断,但宗馥莉治下的娃哈哈业绩亮眼。在2024年全国销售工作总结大会上,她宣布娃哈哈成功“拉齐了十年前的业绩规模”,预估营收达到700亿元区间,较上年猛增200亿元,涨幅约40%。凭借810亿元身家,宗馥莉荣登2024年《胡润百富榜》女首富。
然而,在这份辉煌的业绩背后,暗流依旧汹涌。杭州和香港两地的遗产诉讼仍将继续鏖战。对宗馥莉而言,来自家族内部的挑战远未结束,她依然面临着诸多未知与变数。
在变幻莫测的市场环境中,宗馥莉推出 “娃小宗” 这一举措,究竟是突破困境的明智之举,还是充满风险的大胆尝试,仍有待时间给出答案。

