江苏科技大学首席科学家,材料科学与工程学院教授、博士生导师,国际纳米材料领域知名专家,俄罗斯工程院外籍院士——冠以诸多头衔的郭某,近日被举报涉嫌学历造假、学术不端、侵占国家科研经费等问题。
11月18日,江苏科技大学通报:经调查取证,认定郭某存在严重学术不端行为,已经按规定解除了与郭某的聘用协议,并对其团队师生进行了妥善安排。同时,学校第一时间向公安机关报案,目前案件正在侦办过程中。
19日,澎湃新闻记者致电郭某,其手机号已停机或关机。记者查询发现,在成为江苏科技大学教授之前,郭某是一位经营多家材料科技企业的商人。浙江省丽水市早年推出的《人才在浙丽》栏目曾报道过郭某的故事,视频中显示郭某的头衔为“全国优秀科技工作者、丽水市汉宝科技有限责任公司董事长”。

《人才在浙丽》栏目报道。视频截图
在招聘网上,丽水市汉宝科技有限责任公司曾在2021年发布招聘帖子,招聘岗位包括技术总监、仪器分析测试工程师、产品设计工程师、材料开发工程师、产品销售经理、纳米材料顾问。其中多数岗位要求硕士和博士以上,纳米材料顾问则要求院士教授(柔性岗)。
在一篇《以纳米为尺,创新度量金属材料的未来科技——江苏科技大学首席科学家郭某教授》的公开宣传资料中,郭某宣称,“2020年,我们自主研制的一款新产品(高端能源装备关键配套材料应用于石油开采的新型高强高韧富型钛合金油井管)一上市,就获得国内首批次供货销售订单2000万元的业绩,并逐渐在行业内站稳了脚跟。2020年,作为全国装备制造业新材料重点领域首批次产品,新一代产品应运而生,强度在1200MPa以上,具备更优越的可靠性、安全性,同时更加环保节能,填补了国内空白……”
郭某提及的“新型高强高韧富型钛合金油井管材料”,也曾出现在丽水市汉宝科技有限责任公司的宣传报道上。浙江杭州未来科技城微信公众号2019年的一篇报道显示,挂牌入驻浙江人才大厦的丽水市汉宝科技有限责任公司,主要专注于金属材料梯度纳米结构关键技术的研发及应用,现阶段主要定位于研究新型高强韧富型钛合金油井管材料的研发,研发成果将会应用在石油开采、运储装备配套材料等。该公司董事长正是郭某,公司注册地在丽水莲都,为招揽研发人才,办公室迁到了浙江人才大厦。
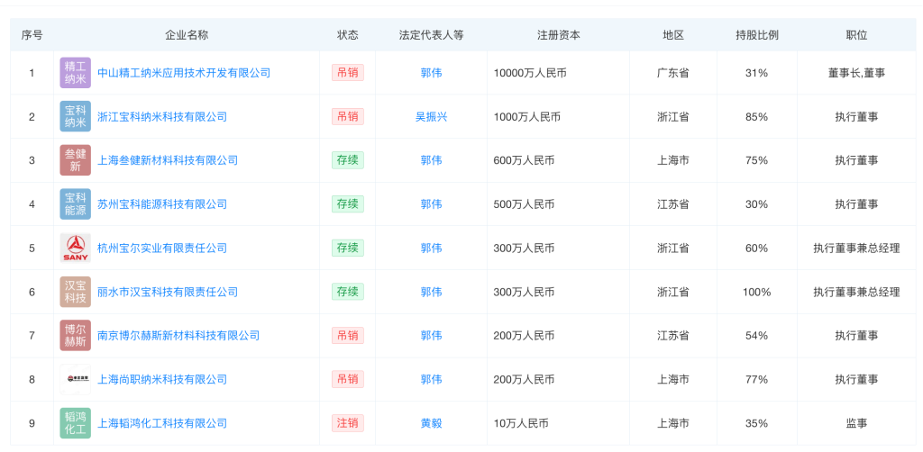
事实上,企业信用信息公示系统显示,郭某是7家企业的法定代表人,其中3家公司已吊销,包括中山精工纳米应用技术开发有限公司、南京博尔赫斯新材料科技有限公司、上海尚职纳米科技有限公司,还有4家公司存续,分别是丽水市汉宝科技有限责任公司、上海叁健新材料科技有限公司、苏州宝科能源科技有限公司、杭州宝尔实业有限责任公司。

与郭某关联的企业。数据来源:天眼查

