炒股就看,权威,专业,及时,全面,助您挖掘潜力主题机会!
每经记者|曾子建 每经编辑|袁东
12月2日,香港证监会披露股权高度集中上市公司最新情况。据公告,港股公司德银天下(HK02418)98.90%的股份被十名股东持有,股权高度集中。
今日(12月3日)早间,德银天下股价一度大跌超40%。值得注意的是,今年9月底以来,德银天下股价大幅走高,最大涨幅超过3倍。
香港证监会表示,近期对德银天下的股权分布进行查询,发现截至11月18日,有10名股东合计持有德银天下5.46亿股H股,占公司已发行H股股本的98.90%。因此,该公司只有605.45万股H股(占已发行H股股本的1.10%)由其他投资者持有。香港证监会表示,鉴于股权高度集中于数目不多的股东,即使少量股份成交,该公司的H股股份价格也可能大幅波动,股东及有意投资者在买卖该公司H股股份时务请审慎行事。

德银天下公告回应称,公司确认,于2025年11月18日,不少于25%的公司已发行股份由公众人士持有。德银天下还表示,鉴于股权高度集中于少数股东,即使少量 H 股成交,H 股价格也可能大幅波动,股东及有意投资者在买卖股份时务请审慎行事。此外,由于股权高度集中,公司证券未必有真正的市场,或其股权可能集中于少数股东手上。
正是由于香港证监会的突然“点名”,今日德银天下股价大幅下挫,截至发稿,盘中最大跌幅超过40%。

德银天下成立于2014年,于2022年7月在港交所上市,公司是一家聚焦商用车全产业链服务的企业,是中国商用车服务行业的主要参与者,为商用车全产业链的参与者提供多种增值服务。
公司上市以来,股价长期表现低迷,长期不足1港元,且成交稀少。不过,今年10月之后,德银天下突然放量大涨,到11月14日最高涨到11.4港元。引发股价大涨的催化剂,或与公司10月9日公布的一项“战略合作协议”有关。
当天,德银天下公告称,公司与永青集团就海外园区数智化物流相关合作订立战略合作协议。根据战略合作协议,双方将在园区数智化运力管理领域展开深度合作,德银天下将为永青集团负责运营管理的位于印度尼西亚一工业园区(IMIP园区)提供高效、安全、稳定的数智化运力服务管理解决方案。德银天下还表示,战略合作将有利于公司的海外业务拓展,为公司带来新的市场机遇,符合长期发展目标及业务发展策略。
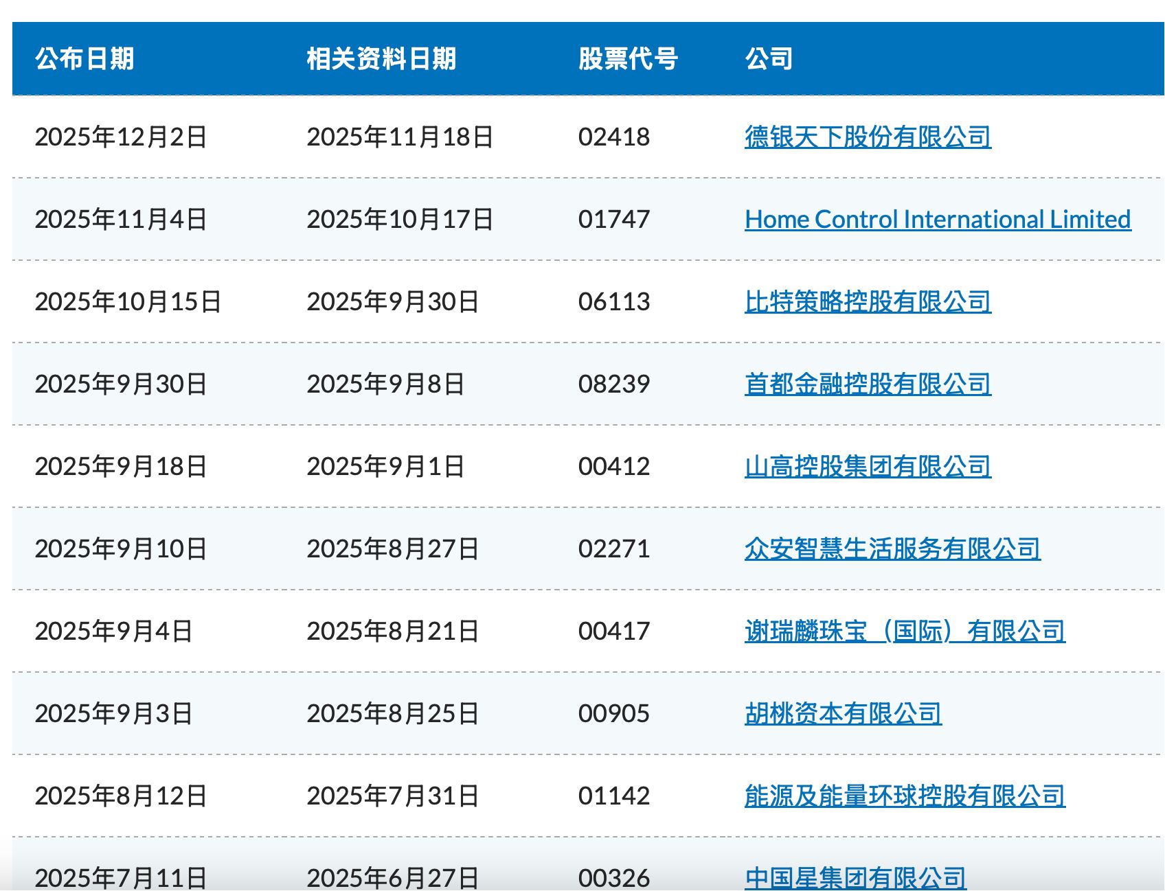
值得注意的是,今年截至目前,香港证监会已经“点名”14家公司股权高度集中。除了在最新的德银天下外,多数公司在被“点名”之后,股价均出现大幅回落。比如比特策略、山高控股、众安智慧生活、谢瑞麟、胡桃资本等,均是如此。


最典型的例子,是今年9月出现大跌的山高控股(HK00412),此前该股从6港元附近被大幅炒高到18.95港元。随后9月18日,香港证监会公告称,山高控股股权高度集中。而在香港证监会公告前的9月16日,山高控股大跌24%,9月19日再跌76%。截至今日盘中,山高控股已最低跌到1.55港元。

不过,也有例外出现。今年3月,德益控股(HK09900)被指股权高度集中,此后公司股票简称变更为了“智云科技建设”,但该股股价依然表现强势,今年累计涨幅达271%,总市值突破141亿港元。

分析指出,股权高度集中的公司需要引起投资者高度警惕。因为这样的公司,股价容易被操纵,导致脱离基本面。此外,股权高度集中后,意味着流动性枯竭,稍有卖盘就会出现大幅波动。
封面图片来源:图片来源:每经记者 张建 摄

