原标题:10年来首换董事长!70后思勇明接掌德华安顾人寿,史峰磊或功成身退;刚刚增资15亿,前三季度退保率近12%仍需关注
来源:险企高参
德华安顾人寿“将帅”均由外资掌舵。
1月22日,德华安顾人寿发布董事会换届公告,官宣思勇明出任公司第五届董事会董事长,其任职资格自山东金融监管局核准并完成公司任命后正式生效,同时,史峰磊自2026年1月12日起不再担任董事长。目前,史峰磊担任德华安顾人寿党委书记、董事。
值得一提的是,任职超10年的公司总经理殷晓松同样由德国安顾集团委派,这意味着德华安顾人寿“将帅”均由外资掌舵。

此次人事调整前夕,德华安顾人寿刚完成成立以来最大规模增资,2025年11月27日董事会审议通过15.45亿元增资方案,2026年初完成工商变更,注册资本由22.4亿元增至37.85亿元,增幅达68.97%,此次增资主要为缓解偿付能力压力——2025年三季度末,该公司核心偿付能力充足率为85.14%、综合偿付能力充足率134.17%,已逼近监管临界水平。
业绩层面上,德华安顾人寿经营情况逐渐转亏为盈。2016年至2023年,该司累计亏损达17.63亿元,2024年首次扭亏为盈实现净利润2.11亿元,到2025年前三季度净利润同比扭亏为盈达0.98亿元。不过,该司退保率处于较高水平,年度累计综合退保率升至11.84%,居行业首位,公司称系客户主动锁定收益所致,不影响正常经营。
分支机构数量上,在同为“百亿级”总资产的寿险公司中,德华安顾人寿旗下分支机构数量略显“庞大”,例如长生人寿(30家)、和泰人寿(7家)、国宝人寿(16家)、瑞泰人寿(11家),而德华安顾人寿却足足有123家(在2025年关停10家机构基础上的数据),其中位于山东的机构数量达82家,占比66.66%。再者,该司各级机构多围绕在山东周围,包括河北、河南、江苏,而北京、天津、上海三个“保费大市”尚未有分支机构覆盖。
外资股东派驻70后思勇明任董事长
10年史峰磊或功成身退
十年来首次变更董事长,德华安顾人寿此次变动颇受关注。而新一届董事长任命逻辑较以往也有不同:史峰磊由山东省国有资产投资控股委派,而接棒者思勇明则由外资德国安顾集团委派。
思勇明,德华安顾人寿董事长,目前亦担任安顾(中国)企业管理有限公司执行董事、安顾方胜保险经纪有限公司董事长以及德国安顾国际股份公司管理委员会成员。
作为1971年出生的金融硕士、文学硕士双学位持有者,思勇明早在2013年德华安顾人寿创立之初,便受德国安顾集团、安顾人寿委派担任公司副董事长,至今已在中国市场深耕13年。在来华任职前,已有丰富的跨国保险管理经验,曾任安顾国际董事会成员,负责欧洲及亚洲多国市场事务,在早期职业生涯中,还担任过安顾土耳其执行董事、首席财务官,以及安顾德国多个事务部负责人。加入安顾前,思勇明于麦肯锡任职,服务于银行与保险行业。
目前,史峰磊仍为德华安顾人寿党委书记、董事。史峰磊出生于1968年11月,拥有工商管理硕士学位,作为山东国资系统培养的资深管理人才,其职业履历深耕山东本土国资企业,横跨酒店服务、实业投资、金融保险等多个领域。历任上海齐鲁实业(集团)有限公司党委书记、董事长、总经理、副总经理,山东银座泉城大酒店有限公司董事长、总经理,北京银座酒店管理有限公司总经理,山东世界贸易中心副总经理。2015年10月,经山东省国有资产投资控股有限公司委派,史峰磊出任德华安顾人寿保险有限公司党委书记、董事长,开启掌舵德华安顾人寿十年历程。
值得一提的是,任职超10年的总经理殷晓松于2014年被德国安顾保险集团委派至德华安顾人寿担任董事,而后出任该司总经理。与史峰磊不同,殷晓松自1995年进入中国保险行业工作,至今已有三十年的从业经历,且大部分是在外资或合资保险公司工作。
资料显示,殷晓松1969年出生,今年56岁,工商管理硕士,中国精算师。曾任金盛人寿代理副总裁、恒康天安人寿执行副总裁、美国友邦保险中国总部环球退休服务及投资管理事业部负责人、友邦保险佛山支公司总经理、友邦保险深圳分公司总经理、友邦保险上海分公司总经理、华泰人寿总经理兼CEO、华泰集团副总裁等职务。
截至目前,德华安顾人寿领导层由董事长思勇明,总经理殷晓松,副总经理、董事会秘书郭会杰,副总经理、中介渠道业务管理责任人刘剑锋,财务负责人、首席投资官梁平伟,总经理助理、欺诈风险管理负责人、首席信息官肖萍,总经理助理、审计责任人张咏梅,总经理助理、首席风险官DarenGregoryKunkle,总精算师WANGQING,合规负责人王艳玲,10人构成。
刚刚增资15.45亿
注册资本增至37.85亿
在思勇明接棒董事长之前,德华安顾人寿完成一次大幅增资,增幅近7成。
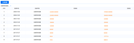
2025年11月27日,德华安顾人寿董事会审议通过增资议案,涉及金额达15.45亿元人民币。本次增资完成后,注册资本将由22.4亿元提升至37.85亿元,增幅达68.97%。

根据公告,三大现有股东均按原持股比例参与出资,未引入新投资方。山东国投公司出资5.4075亿元,德国安顾集团出资5.4075亿元,德国安顾人寿出资4.635亿元,三方的持股比例仍分别为35%、35%和30%。在增资之前,该司核心偿付能力已逼近监管临界水平。据偿付能力报告显示,2025年三季度末,该司核心偿付能力充足率为85.14%,综合偿付能力充足率134.17%。
更早之前,德华安顾人寿已经完成多轮增资。2017年、2018年完成两轮各6亿元增资,注册资本从6亿增至18亿,均为股东同比例投入;2021年7月公告股东同比例增资2亿元,注册资本达20亿元,其中山东国投1亿元、安顾集团0.4亿元、安顾人寿0.6亿元,用于补充偿付能力、支持长期价值业务扩张。

2021年之后,德华安顾人寿偿付能力充足率开始震荡,直至2023年二季度末达到最低点,核心偿付能力充足率为77.15%,综合偿付能力充足率为124.5%。在当年8月,该司完成一轮2.4亿元的增资,其中包含1.6亿元资本公积,注册资本升至22.4亿元,得以让偿付能力充足率再次回升。

业务转型见成效 分红业务占77%
综合退保率11.84%居行业之首
偿付能力充足率常年下行的同时,与德华安顾人寿的经营业绩不无关系。从2016年算起,德华安顾人寿累计亏损高达-17.63亿元,不过该司在今年业绩已有好转,保费同比增长、净利润同比扭亏为盈。
2025年三季度末,德华安顾人寿保险业务收入20.44亿元,同比增长15.35%。净利润0.98亿元,同比扭亏为盈。资产方面,报告期末德华安顾人寿总资产达113.78亿元,较年初增长7.82%,净资产为3.35亿元,较年初下降39.31%。投资水平上,德华安顾人寿前三季度投资收益率为5.7%,排在寿险行业第四,不过其综合投资收益率为负值,为-0.56%,排在寿险行业倒数第二。最近两个季度风险综合评级均为B类。
据了解,“盈利拐点”背后,是德华安顾人寿业务结构的转变,截至2025年6月,该司分红业务升至77%;个险渠道13个月保费继续率91.09%,创下新高;其互联网业务持续稳居合资公司前列,其中失能险市场排名第1,疾病保险位列合资公司第2,健康险排名第3。
与此同时,德华安顾人寿也将保险与养老服务体系融合,发布了“安旅居”“安居家”“安托护”三大养老权益包,试图构建“保险+服务”的生态闭环。
然而,在业务转型的背后,是居行业首位年度累计综合退保率,2025年前三季度该指标达11.84%。具体到退保金最高的单款产品,“稳健盈终身寿险(投连型)”的年度累计退保率高达88.65%,涉及退保金额超过6.51亿元,成为退保情况最严重的产品。同样表现不佳的“安稳盈终身寿险(投连型)”退保率达到69.21%,涉及资金1.38亿元。“直富保年金保险(2019版)(万能型)”也出现11.96%的退保率,退保规模达5147万元。三款产品合计年度累计退保金超8亿。

德华安顾人寿表示,由于市场利率持续下降,公司投资连结型保险产品已满5年,无退保费用,该产品对应账户的投连单位价格从1.00提升到1.22,5年累计收益率为22%左右。客户为提前锁定收益,主动选择账户调整或退保,该产品的实际退保率与预期退保率一致,对公司流动性和业务经营不构成影响。公司投资连结型保险产品截止2025年2季度末已按计划有序退出,3季度单季度综合退保率保持低位,1-3季度的累计综合退保率与1-2季度的累计综合退保率基本持平。
回顾10年来,德华安顾人寿保费逐年上升,但是净利润常年亏损。2016年至2024年该司保险业务收入分别为:1.74亿元,4.14亿元,6亿元,8.82亿元,10.98亿元,13.82亿元,15.88亿元,19.77亿元,23.07亿元。2016年至2023年净亏损分别为:1.1亿元,1.91亿元,2.82亿元,3.66亿元,3.19亿元,2.67亿元,3.09亿元,2.28亿元,直至2024年扭亏为盈达2.11亿元。

