2026年2月9日,国内期货主力合约涨跌不一。铂涨近11%,沪银涨超8%,钯涨超7%,涨超6%,、沪金涨超3%,涨超2%,、涨近2%;跌幅方面,(EB)跌超2%,原木、、低硫(LU)、、、、跌超1%。
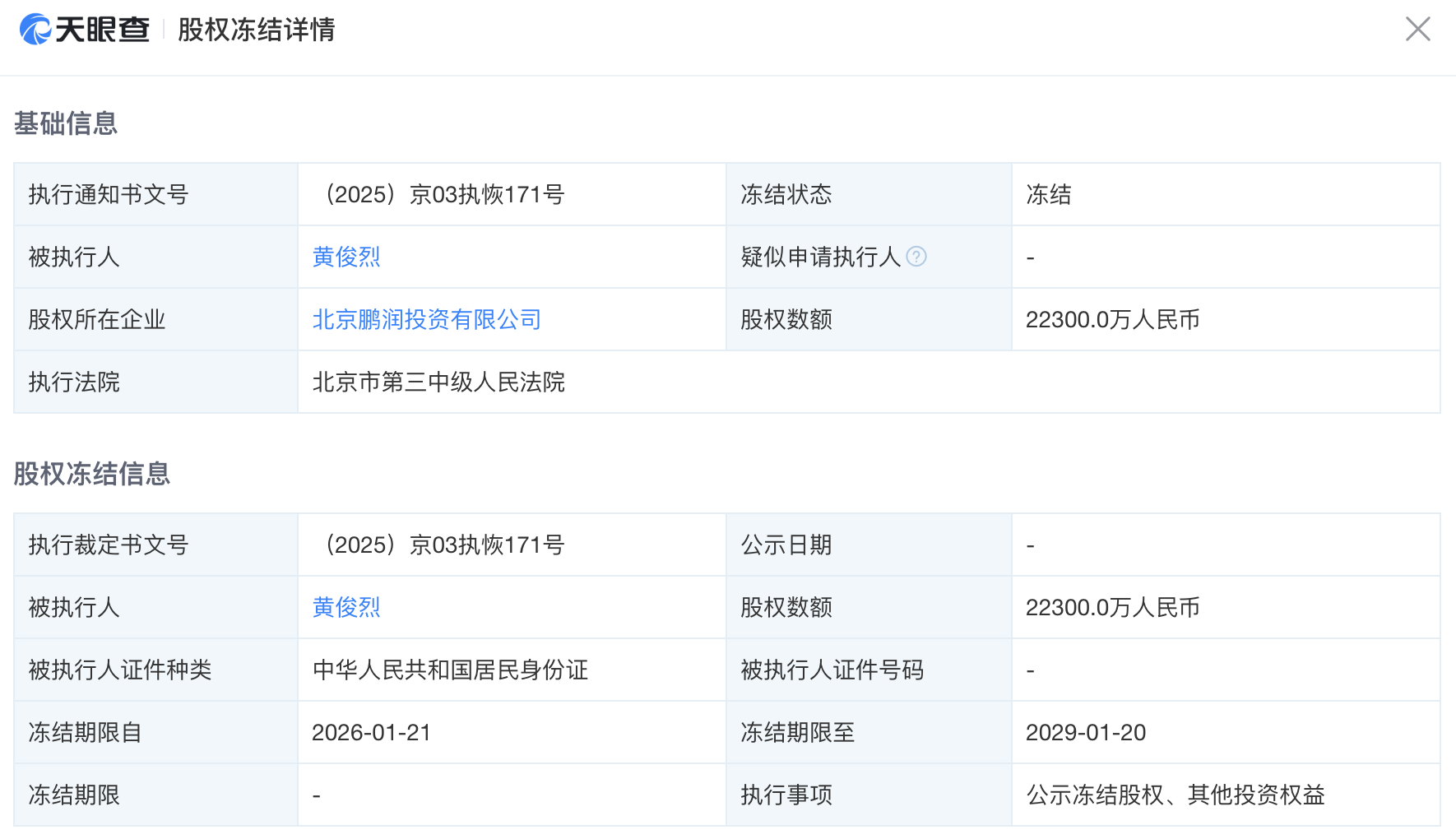
黄光裕2.23亿元股权被冻结,旗下国美转型五年未果
经济学家:马来西亚强劲的工业产值支持第四季度5.7%的增长
高盛预计英伟达Q4营收达673亿美元 给出250美元目标股价
1月PMI回落,关注后续工业品价格回调可能性
国务院安委办对山西朔州佳鹏生物科技有限公司“2·7”较大爆炸事故查处挂牌督办
31省份披露去年财政收入:广东再居首,山西、内蒙古、青海和陕西下滑
苹果 iPhone 17e 本月登场?半导体强势领涨,芯原股份涨超15%!电子ETF(515260)盘中拉升2.7%
百家号:本来生活礼金卡-中国创新药龙头大涨近7%,拿下国际巨头88亿美元合作,首付3.5亿美元