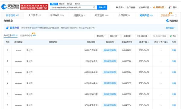
快科技5月11日消息,子公司北京京东叁佰陆拾度电子商务有限公司申请注册多枚“Joyrobotaxi”商标,或布局自动驾驶出租车领域。
据天眼查显示,这些“Joyrobotaxi”商标涵盖运输工具、科学仪器、运输贮藏等核心领域,当前商标状态均为等待实质审查。

京东作为电商行业的领头羊,为何会涉足这一高门槛领域?
据媒体报道,2014年,李斌创立汽车。次年,蔚来汽车迎来重要的A轮融资,京东、腾讯、高瓴等纷纷入局,为蔚来注入1亿美元。
据章泽天在2017年蔚来汽车发布会上透露,当初李斌与刘强东夫妇会面时,仅用15分钟阐述蔚来汽车的构想,刘强东便在10秒钟内做出投资决定。
截至目前,刘强东通过MaxSmartLimited家族信托持有蔚来2.82%的股份,这笔当初看似冒险的投资,如今价值已超20亿,可以说是投资界的经典案例了。
2025年,京东汽车大集又在全国50城狂铺100场,并宣布投入5亿元补贴,加码汽车以旧换新市场。
据了解,京东在物流领域的技术积累也为其打入自动驾驶出租车市场提供基础。
数据显示,截至2023年底,京东物流已在全国30+城市部署超500台L4级无人配送车(如“京蜓”),累计配送订单量突破500万单,自动驾驶里程超200万公里,很明显,京东的这一技术积累,可直接迁移至载人场景。
无人物流车、仓储自动化及路径规划系统的应用经验,使得京东能够迅速整合资源,打造高效的出行解决方案。
此外,京东还与多家车企达成战略合作,如比亚迪和岚图汽车。
今年的4月15日,京东外卖的单量为560万单,仅仅一周之后,也就是4月22日,就突破达到了1000万单,仅用一周时间实现翻倍增长。
很明显,外卖和网约车都是高频消费场景,能提升用户使用京东App的频率,增强用户粘性,抵御竞争对手对京东核心零售业务的渗透。
然而,自动驾驶出租车赛道竞争激烈,这个领域,包括、萝卜快跑、小马智行和都在密集布局,京东需拿出差异化策略才能脱颖而出。

